什么是刹车气缸?刹车气缸的工作原理和结构特点是现有主要用于木工机械设备上的刹车气缸,靠气缸的弹簧力使轴头端的刹车垫牢固地锁定移动的机械,使其不能移动。它包括气缸筒体,置于气缸筒体两端的连接在一起的前压盖和后压盖,置于气缸筒体内的带有一端通过前压盖伸到气缸筒体外的活塞杆及活塞,分别置于活塞与气缸筒体之间,气缸筒体与前压盖之间,活塞杆与前压盖之间的设有O型密封圈,这种结构的刹车气缸结构繁琐,空间结构大,使用不方便,其由于气缸各部件的连接活动处多,气密性不好,使用寿命短。

刹车气缸的组成结构:
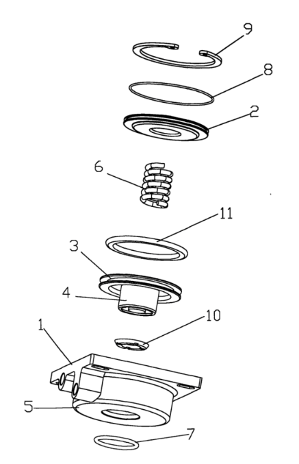
1.一种刹车气缸,包括缸体(1)和后盖(2),在缸体(1)内设有气缸芯,其特征在于:所述的气缸芯包含为一体化结构的活塞(3)和活塞杆(4),所述的缸体(1)是含前盖(5)且压铸成型的一体化结构;所述的气缸芯的活塞杆是中空结构,内设弹簧(6)
2.根据权利要求1所述的刹车气缸,其特征在于:所述的缸体(1)前盖端设有为活塞杆密封和导向的0形杆部圈(7),在活塞(3)上设有密封活塞的活塞圈(11)。
3.根据权利要求1所述的刹车气缸,其特征在于:所述的后盖(2)上设有0形圈(8和卡簧(9)
4.根据权利要求1-3中任意一项所述的刹车气缸,其特征在于:所述的气缸芯的活塞杆(4)端头设有由丁腈材料做成的刹车垫(10)。

